Описание
Характеристики
Отзывы
Описание
Если Вы хотите заказать изделие из нержавеющей стали, замените первые две цифры артикула с 00.... на 01....
Характеристики
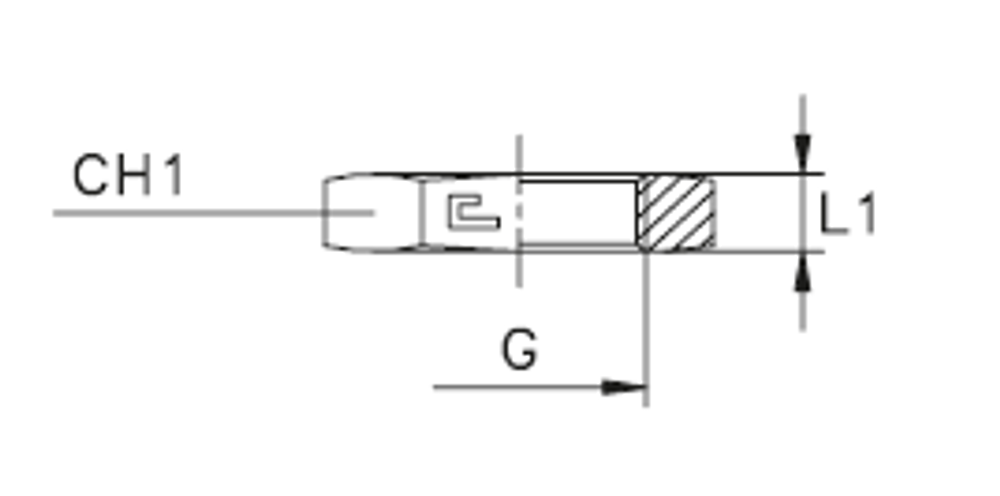
| Артикул | Бренд | CH1 | L1 (мм) | WP (bar) | Исполнение трубного соединения | резьба G | Резьба ТС 1 | серия | Стандарт ТС | Тип трубного соединения |
| 002304 | CAST | 27 | 8,5 | 350 | прямой | 1/2 | BSP | Универсальная | Соединения 60° BS-5200 | гайка |
Характеристики
Размер L1 (мм)
8,5
WP (bar) рабочее давление
350
Серия
Универсальная
Размер резьбы 5
1/2
Стандарт трубных соединений
Соединения 60° BS-5200
Бренд
CAST
Тип трубного соединения
гайка
Исполнение трубного соединения
прямой
Резьба ТС 1
BSP
Отзывы
Отзывов еще никто не оставлял
Остались вопросы? Напишите нам!
